Deante Dřezová baterie nízkotlaká, pro připojení ohřívače, chrom BEZ_062H
Deante Dřezová baterie nízkotlaká, pro připojení ohřívače, chrom BEZ_062H
🗓️ Kdy mohu očekávat doručení.
🚚 Jaké jsou možnosti doručení.
| Výrobce: | Deante |
| Adresa výrobce: | Ul. Twarda 11/13, Zgierz 95-100 |
| E-mail: | deante@deante.pl |
Deante Dřezová baterie nízkotlaká, pro připojení ohřívače, chrom BEZ_062H
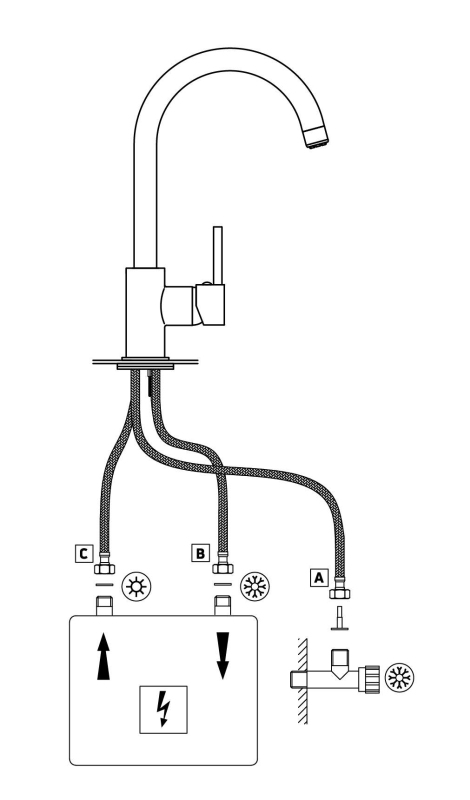
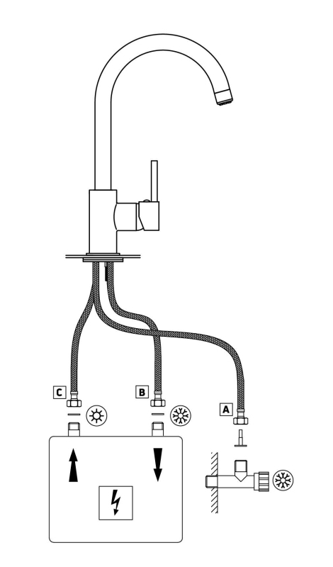
Tato nízkotlaká baterie s otočným výtokem ve tvaru U je určena pro místa bez přístupu k teplé vodě. Je ideální pro letní domky nebo zahradní kuchyně. Trojcestná baterie by měla být připojena k nízkotlakému ohřívači vody instalovanému například pod pracovní deskou nebo ve skříňce. Otočný výtok je ideální pro dvojité dřezy a pro plnění velkých nádob. Baterie je vybavena perlátorem, který provzdušňuje proud vody, čímž výrazně snižuje spotřebu vody. Tělo baterie je vyrobeno z mosazi, což zajišťuje její odolnost a pevnost.
- Tělo baterie je vyrobeno z nejkvalitnější mosazi
- Kohoutek je vybaven perlátorem, který provzdušňuje proud.
- Baterie určená pro ohřívač vody
- Sada obsahuje 3 hadice 50 cm, M8x3/8"
| Provzdušňovač | |
|---|---|
| Typ provzdušňovače | ostatní |
| Velikost provzdušňovače | M24 |
| Baterie | |
|---|---|
| Materiál | mosaz |
| Dokončit | chrom |
| Typ baterie | pro ohřívače |
| Způsob instalace | stojící |
| Akustická skupina [dB] | II (20 < x ≤ 30) |
| Třída průtoku [l/min] | A - 9,1–15 l/min |
| Celková výška baterie [mm] | 333 |
| Výtok | |
|---|---|
| Materiál | mosaz |
| Typ výtoku | rotující |
| Rozsah výtoku kohoutku [mm] | 183 |
| Hlava baterie | |
|---|---|
| Velikost keramické hlavy | 35 mm |
| Připojovací hadice | |
|---|---|
| Délka [mm] | 500 |
| Připojovací závit | M8 |
| Vlákno z instalace | 3/8’’ |
| Barva baterie | chrom |

